当前位置:幸运飞行艇官方开奖直播 > 新闻动态 > 正文
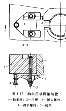
图4-7所示中,装有轴向压板12,13,14,其作用为对正轧槽,固定轧辊的轴向位置,承受轴向力以及在止推衬瓦磨损时轴向移动轴承座。轴向压板调整装置如图4-12所示,压板2通过其椭圆孔套在穿过机架立柱通孔的锤头螺栓3上,旋转调节螺钉4,可使用压板压紧(或松开)轴承座。在换辊时,将锤头螺栓的螺母松开后,压板可沿其椭圆孔向外移开,这种机构只能单方向(向内)轴向移动轧辊,一次,必须在每个轧辊的两端成对设置。当欲使一端的压板向内调整时,另一端的压板必须松开,从而使轧辊轴向固定。这种结构比较简单,便于换辊操作。

